
نحوه نصب پمپ سیرکولاتور و طرز کار آن
چگونگی نحوه نصب پمپ سیرکولاتور از جمله موقعیت نصب پمپ های سیرکولاتور، محل نصب پمپ سیرکوله، اصول نصب پمپ خطی، انواع سیستم کنترل پمپ سیرکولاتور و... بر طرز کار و بازدهی پمپ تاثیر مستقیم خواهد داشت که در این مطلب، این نکات نصب پمپ سیرکولاتور را بصورت کامل و گام به گام مورد بررسی قرار داده ایم.
به منظور تکمیل اطلاعات مشتریان عزیز، توضیحات جامع و تخصصی در ارتباط با نحوه نصب پمپ سیرکولاتور با عناوین زیر در این مقاله بیان شده است.
- موقعیت نصب پمپ های سیرکولاتور
- محل نصب پمپ در مسیر رفت یا برگشت
- اصول نصب پمپ خطی سیرکوله
- کنترل پمپ سیرکولاتور
- انواع سیستم کنترل پمپ سیرکولاتور
- طرز کار پمپ سیرکولاتور دور متغیر
- مزایای پمپ سیرکولاتور دور متغیر
- اتصالات پمپ سیرکولاتور
همچنین کاربران عزیز می توانند جهت مشاهده انواع مدل های پمپ سیرکولاتور و مقایسه قابلیت های هر مدل و کاربری هر یک از پمپ های سیرکوله به لینک زیر مراجعه نمایند.
جهت مشاهده انواع پمپ سیرکولاتور کلیک نمایید.
نصب صحیح پمپ های سیرکولاتور بر طرز کار و بازدهی پمپ تاثیر مستقیم دارد. در این مطلب، نکات نصب پمپ سیرکولاتور مانند: موقعیت نصب پمپ های سیرکولاتور، محل نصب پمپ سیرکولاتور، نحوه نصب پمپ خطی، انواع سیستم کنترل پمپ سیرکولاتور و... را بصورت کامل و گام به گام مورد بررسی قرار داده ایم. با مطالعه این مقاله از وبسایت بامین تهویه می توانید انواع پمپ سیرکولاتور و پمپ خطی را بصورت صحیح و اصولی نصب نمایید. پس تا انتهای این مطلب با ما همراه باشید.

موقعیت نصب پمپ های سیرکولاتور
در تاسیسات حرارت مرکزی و تهویه مطبوع بر سر اینکه پمپ سیرکولاتور باید در مسیر رفت باشد یا برگشت هنوز اجماع کلی وجود ندارد .
هرکدام از روشها مزایای و معایب خاص خود را دارند.
اما آنچه بیشتر اجرا شده است نصب پمپ سیرکولاتور در مسیر برگشت می باشد به همین جهت پمپ سیرکولاتور همیشه قبل از دستگاه های مولد گرما یا دستگاه های مولد سرما مانند دیگ های آبگرم، چیلر ها، پکیج ها و ... نصب می گردد. یعنی پمپ های سیرکوله آب برگشتی از پخش کننده های گرما و سرما مثل : فن کویل، هواساز، یونیت هیتر ، رادیاتور ها و ... را جمعآوری کرده و به مولد گرما یا سرما مثل دیگ و چیلر هدایت می کنند.
نصب پمپ سیرکولاتور در مسیر رفت وبعد از دستگاه های تولید حرارت و برودت سبب توزیع بهتر سیال بین المان های حرارتی میشود.
محل نصب پمپ در مسیر رفت یا برگشت
- اگر پمپ در مسیر رفت قرار بگیرد با دبی حجمی کمتری کار می کند. یعنی مومنتوم m عبوری نسبت به حجم کاهش می یابد چون آب هم در اثر گرم شدن منبسط شده و هم از دمای ۶- درجه به پایین شروع به انبساط و افزایش حجم می کند (بر عکس رفتار اکثر مواد موجود در طبیعت) چون حجم افزایش پیدا میکند دبی حجمی پمپ کمتر خواهد بود. اما نصب پمپ برگشت آبگرم با توجه به تبادل حرارت با فضای تهویه یا آب گرم و ... دما تغییر کرده و حجم هم کمتر شده است. بطور خلاصه در سیستم گرمایش اگر پمپ در مسیر رفت نصب شود درصدی جزیی دبی پایین تری به نسبت حالتی دارد که پمپ در مسیر برگشت باشد.
 
- دمای سیال در مسیر برگشت همواره دمای ایده آل تری برای افزایش طول عمر پمپ سیرکولاتور، آب بندها، پروانه و ... میباشد. چون گرمای زیاد و سرمای زیاد هر دو می توانند به طرز کار پمپ سیرکولاتور تاثیر منفی داشته باشند.
 
- همواره با نصب پمپ سیرکولاتور در مسیر برگشت مولد در شرایط هیدرولیکی بهتری قرار دارد و همواره آب با فشار مناسب در مولد موجود خواهد بود و کارکرد دیگ و چیلر بهینه تر است.
 
- از همه موادر فوق مهمتر توزیع آب بین مصرف کننده ها است که در نصب پمپ در مدار رفت میتوان توزیع بهتری ایجاد کرد.

طریقه نصب پمپ سیرکولاتور خطی
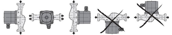
- هنگام نصب پمپ سیرکولاتور خطی به جهت جریان سیال در داخل لوله و جهت فلش مشخص شده روی پوسته هوزینگ پمپ دقت کنید که این دو جهت هم راستا با هم و در یک جهت باشند.
 
- علاوه بر مسیر حرکت سیال، موقعیت قرارگیری و طریقه نصب پمپ سیرکولاتور خطی بسیار مهم است و باید رعایت شود.

- پمپ به گونه ای نصب گردد که جهت انجام سرویس و خرابی احتمالی در آینده فضای کافی وجود داشته باشد همچنین مهره ماسوره یا فلنج نصب پمپ در محل مورد نظر پیش بینی شده و در یک امتداد باشند.
 
- قبل و بعد از پمپ حتما شیر فلکه قطع و وصل از نوع کشویی برنجی یا چدنی نصب شده باشد. 
- در کنار پمپ یک مسیر بای پاس به همراه شیر فلکه قطع و وصل پیشبینی و اجرا شده باشد.

- قبل از نصب پمپ مطمئن شوید که سیستم لوله کشی کامل شده و اتصال بازی در مسیر نیست و همچنین مسیر از هرگونه ناخالصی مثل سربار جوش (گل جوش) ، کثیفی و اجرام تخلیه و پاک شده است.
 
- پمپ در نصب خانگی و مسکونی باید در جای خشک و با تهویه مناسب باشد.
 
- از آب سختی گیری شده برای پر کردن مسیر استفاده کرده تا رسوب گذاری باعث آسیب رسیدن به پمپ نشود.
 
- سایز لوله های جریان آب به هیچ وجه کمتر از قطر ورودی و خروجی پمپ نباشد.
 
- چنانچه تعداد واحدهای یک ساختمان مسکونی زیاد باشد ویا ساختمان در منطقه سردسیر باشد باید یک پمپ با اندازه یکسان با پمپ انتخاب شده به عنوان رزرو در کنار آن نصب شود.
 
- بهتر است در قسمت مکش از صافی برنجی یا صافی چدنی جهت جلوگیری از ورود ذرات به داخل پمپ و آسیب رسیدن به پروانه استفاده شود.
 
- حداکثر فشار کاری پمپ سیرکولاتور در پروژه باید رعایت شود. همچنین محدوده دمایی در اکثر پمپ های سیرکوله طبق توضیح شرکت سازنده رعایت گردد. دمای محیط نصب پمپ سیرکولاتور نباید بیشتر از ۴۰ درجه سانتیگراد باشد.
- در ایران F فرکانس ۵۰ هرتز است و نباید ولتاژ پمپ از ۲۲۰ ولت تک فاز  ۱۰٪± درصد بیشتر تغییرات داشته باشد بیشتر از این محدوده به پمپ آسیب می رساند.
 
- اگر دو فلنج روی لوله در یک راستا نباشند و با فشار آنها را در یک امتداد قرار دهید و پیچ را ببندید این تنش باقی مانده باعث صدا و لرزش و آسیب به پمپ خواهد شد.
 
- قبل از دهانه ورود و خروج تا فاصله D۵ (۵ برابر قطر لوله) استفاده از زانو مجاز نمی باشد. یعنی برای لوله 2  اینچ حداقل باید ۱۰ اینچ قبل یا بعد زانو قرار بگیرد. البته تا جایی که امکان دارد نباید از زانو در مسیر پمپ استفاده کرد.
 
- سیستم را قبل از راه اندازی پمپ هوا گیری کنید و در نزدیکترین نقطه به دهش پمپ شیر تخلیه برای سیستم در نظر بگیرید.
پیشنهاد مطالعه : تعمیر پمپ
کنترل پمپ سیرکولاتور
برای داشتن دمای مناسب در فضای مورد استفاده باید دما کنترل شود در اکثر سیستم ها طراحی به گونهای است که از دو روش سیستم دبی ثابت و سیستم دبی متغیر استفاده می شود.
در سیستم دبی ثابت با رسیدن به دمای مطلوب برای مثال اختلاف یک یا دو درجه سانتیگراد بین خط رفت و برگشت چیلر ها و بویلرها (دیگ ها) خاموش می شوند اما برای حفظ دبی ثابت پمپ ها آب را به تمام سیستم و دستگاهها منتقل کرده و جریان ثابتی همواره وجود دارد.
در سیستم های بزرگتر در این روش شیر سه راهه در مسیر کویل گرمایش (هواساز یا مبدل حرارتی) وجود دارد و با رسیدن به نقطه تنظیم آب از خط رفت توسط شیر سه راهه به خط برگشت بای پس میگردد. یکی از دلایل به کارگیری سیستم دبی ثابت نیاز به وجود جریان سیال با دبی ثابت برای دیگ ها و چیلرها جهت جلوگیری از آسیب دیدن و حفظ بازدهی آنهاست.
در سیستم دبی متغیر علاوه بر مزایای سیستم ثابت باعث خواهد شد که در شبکه لوله کشی میزان دبی جریانی بر حسب ظرفیت (گرمایشی یا سرمایشی) تغییر کند و باعث افزایش بازده دستگاهها و پمپ ها شده و بازده را نیز در حد مطلوب قرار می دهد. ضمن اینکه کنترل بهتر و بیشتری روی دما وجود دارد.
انواع سیستم کنترل پمپ سیرکولاتور
حال با توجه به سیستم های ذکر شده انواع مختلفی از سیستم کنترل بر روی پمپ های سیرکولاتور اعمال میشود که به ذکر چند نمونه متداول آنها می پردازیم.
استفاده از ترموستات جداری
خاموش و روشن کردن پمپ سیرکولاتور توسط سنسور دمایی (ترموستات جداری) که روی لوله نصب می شود. البته این کار در سیستم های بزرگ با پمپ های توان بالا خاموش و روشن کردن پمپ معقول نمی باشد چون علاوه بر شوک گرمایی در فضاها به پمپ نیز آسیب می رسد.
استفاده از شیرهای سه راهی (بای پس کردن جریان By Pass Valve)
شیرهای سه راهی با ایجاد ارتباط بین لوله رفت و برگشت قبل از کویل های پخش کننده دبی ثابت را در سیستم تامین میکنند تا پمپ ها تحت فشار قرار نگیرند. در این روش پمپ ها دائم کار بوده و به صورت شیفت های کاری توسط اپراتور در مدار قرار می گیرند. همواره یک یا دو پمپ یا بیشتر به صورت رزرو وجود دارند و به نوبت در مسیر قرار خواهند گرفت.
استفاده از ترموستات چند مرحله
در این روش چند پمپ به صورت موازی، دبی سیستم را تامین میکنند. در اوج بار همه پمپ ها فعال می شوند و با کاهش احتیاج بار یکی یکی از مدار خارج می گردند.
تغییر دور پمپ سیرکولاتور
در پمپ های سیرکوله این حالت به دو روش امکان پذیر است.
استفاده از پمپ های مدولار (چند سرعته)
در این روش از پمپ هایی استفاده می شود که حالت های سرعتی متفاوتی دارند. مثلاً دو سرعته یا سه سرعته هستند.
 مثلاً یک پمپ ۳ سرعته از ۱۶۰۰ دور در دقیقه تا ۲۵۰۰ دور در دقیقه میتواند تغییر سرعت دهد. مثلاً در حالت ۱ ، سرعت ۱۷۱۰ و توان ۳۳ وات و در حالت ۲، سرعت ۱۹۵۰ و توان ۴۹ وات و در حالت ۳ ، سرعت ۲۴۶۰ و توان ۶۰ وات است.
 این مثال پمپ کمکی پکیج ویلو  Wiloمدل ۱۱۲ Class F  می باشد. 
البته با توجه به تغییر توان مصرفی نسبت به دور علاوه بر کاهش هزینه برق، کاهش استهلاک پمپ را نیز به همراه دارد.
البته نکته قابل توجه در این حالت این است که به صورت دستی باید این تغییر سرعت را انجام داد.
استفاده از اینورتر و تغییر دور پمپ توسط تغییر فرکانس
این روش به دو صورت می باشد. در حالت اول کنترل بر اساس ترانس دیوسرهای فشار که سنسور اختلاف فشار هستند و فشار رفت و برگشت را بررسی کرده و سیگنال به اینورتر ارسال میکنند و دور تغییر پیدا میکند.
حالت دوم استفاده از ترمیستورها (سنسورهای اختلاف دما) است که اختلاف دمای آب رفت و برگشت را بررسی کرده و بر اساس آن دور را با کمک اینورتر کم یا زیاد میکنند.
در مقاله 5 پمپ سیرکولاتور ارزان و با کیفیت برند های معتبر، شاخص و پر فروش موجود در بازار ایران را بررسی نموده ایم.
طرز کار پمپ سیرکولاتور دور متغیر
همانطور که گفته شد طرز کار پمپ سیرکولاتور دور متغیر به این صورت است که توسط سنسورهای اختلاف فشار (ترانس دیوسر های فشار) یا سنسورهای دمایی (ترمیستور ها یا تمپرچر ترانسمیتر ها) دستور تغییر دور به اینورتر رسیده و با تغییرات فرکانس دو را تغییر میدهد. برای روشن تر شدن مطلب مثال زیر را در نظر بگیرید. در یک سیستم که از سنسورهای دمایی (تمپرچر ترانسمیتر) استفاده شده است. دو سنسور یکی روی لوله رفت و دیگری روی لوله برگشت سیستم قرار دارد.
اساس کار این سنسورها که نیمه هادی هستند تغییر خاصیت رسانایی نسبت به تغییر دما است (مثل NTC پکیج ها). با افزایش دما مقاومت این قطعه کاهش یافته و اجازه عبور جریان بیشتری را میدهد. وقتی اختلاف دیتای ارسالی از این دو سنسور به اینورتر به اندازه مشخص شده توسط اپراتور رسید فرکانس به صورت شیب صعودی یا نزولی در را تغییر داده و دبی جریان آب هم افزایش و یا کاهش پیدا میکند. این سیستم دارای مزایای زیادی است که به چند مورد از آنها اشاره می کنیم.
نکته آخر اینکه تا توان ۲۲ کیلووات این اینورترها به صورت نصب روی موتور الکتریکی قابل استفاده هستند و از این توان به بالا باید از نوع تابلویی که روی دیوار نصب شده و سیم کشی می گردد استفاده کرد.
مزایای پمپ سیرکولاتور دور متغیر
- همانطور که گفته شد با تغییر دور، توان مصرفی پمپ هم تغییر می کند. این سیستم کمک بسیار زیادی به کاهش هزینه برق مصرفی از طریق تغییر دور میکند.
- 
- با توجه به تغییر سرعت، عمر قطعات پمپ در نتیجه عمر کاری پمپ های سیرکوله افزایش پیدا میکند.
 
- قابلیت مونتاژ مستقیم اینورتر روی پمپ تا توان ۲۲ کیلو وات هزینه سیم کشی و ساخت تابلو و تجهیزات را به صورت چشم گیری کاهش می دهد.
 
- این سیستم از کارکرد بدونآب سیستم جلوگیری میکند و در صورت نبودن آب مانع خشک کار کردن و آسیب رسیدن به پمپ می شود.
 
- در صورت افزایش آمپر مصرفی (اضافه بار) بر اثر هر مشکل مکانیکی مثل خرابی سیل، کوپلینگ گیر کردن پروانه و ... مانع کار پمپ شده و از سوختن پمپ جلوگیری میکند.
 
- سر و صدای سیستم به صورت قابل ملاحظه کاهش پیدا میکند.
 
- به علت این که اینورتر ها همیشه با یک شیب ملایم استارت پمپ را آغاز میکنند آمپر راه اندازی پایین تری نیاز است و این خود باعث جلوگیری از افت ناگهانی ولتاژ در استارت پمپ ها بخصوص در ساعات پیک مصرف خواهد شد. در نتیجه دیماند تقاضایی از اداره برق نیز می تواند در طراحی عدد کمتری باشد به خصوص درموتورخانه های بزرگ.
 
- این اینورترها اکثراً از ولتاژ های زیاد و یا افت ولتاژ های زیاد، موتور را حفظ می کنند. مثلاً در موتور تکفاز وقتی ولتاژ کمتر از ۲۰۰ ولت شود یا بیشتر از ۲۳۳ شود اجازه کار به پمپ نخواهند داد و عمر الکتروموتور پمپ افزایش پیدا میکند.
 
- اینورترها دارای ترمینال قدرت و ترمینال های فرمان بوده و در صورت آموزش، نصب آنها بسیار ساده است و هم روی دیوار هم روی موتور به سادگی قابل نصب و مونتاژ هستند.
 
- اینورتر پمپ های سیرکوله دور متغیر این قابلیت را دارد که از روی یک پمپ باز شده و به پمپ دیگری متصل شود.
 
- اینورترها در حالت نصب دیواری می توانند کار شیفت بندی پمپ ها را نیز به عهده بگیرند. یعنی اگر یک روز پمپ شماره یک پمپ اصلی است و پمپ های دیگر کمکی هستند و استراحت بیشتری دارند. روز دوم پمپ ۲ پمپ اصلی باشد و به همین ترتیب الی آخر.
 
- با توجه به کاهش مصرف برق بازگشت سرمایه خرید اولیه این پمپها که گران تر از پمپ های معمولی هستند به سرعت اتفاق میافتد و تنها عیب این پمپ ها را که هزینه اولیه بالاست را پوشش میدهند.
 به عنوان مثال رجوع کنید به آمار دور و توان پمپ سیرکولاتور چند دور ویلو در همین مقاله مشاهده می کنید وقتی پمپ 60 وات پکیجی با ۱۷۱۰ دور یعنی ۷۰ درصد حداکثر دور خود کار می کند توان آن ۳۳ وات تقریباً نصف شده است و این به معنای کاهش مصرف برق بیش از نصف حالت دور ثابت.
در انتها باید گفت که مثل هر قطعه و وسیله الکتریکی برخی از الزامات نصب را باید رعایت کرد و در ضمن باید از برندهای شناخته شده استفاده کرد. مثلاً پمپهای لوارا Lowaraاز اینورتر هیدروار Hydrovar استفاده می کنند که از برندهای معتبر اینورتر است.
اتصالات پمپ سیرکولاتور
برای صحیح ترین نحوه نصب پمپ سیرکولاتور نیاز به اتصالاتی است که بستگی به نوع نصب پمپ سیرکولاتور دارند. باید برای نصب حتما همانطور که گفته شد شیر فلکه در دهش و مکش پیش بینی شود. 
برای نصب پمپ سیرکولاتور به مهره ماسوره در سایزهای پایین و فلنج در سایزهای بزرگتر نیاز می باشد.
برای نصب پمپ سیرکولاتور نصب گیج فشار در دو سمت پمپ به شناسایی خطا و خرابیها نیز کمک میکند. یعنی با استفاده از فشارسنج (گیج فشار) می توان از خرابی پروانه و کاهش فشار تولیدی، گرفتگی مسیر و بسته بودن شیر فلکه ها و یا کثیف شدن فیلتر استرینر (صافی) آگاه می شویم. 
در صورتی که در هنگام نصب پمپ وزن لوله ها روی فلنج باشد باید ابتدا لوله ها را مهار کرده و سپس پمپ را نصب کرد. 
برای تمام پمپ های سیرکوله خطی حتماً یک مسیر بای پس در نظر بگیریم. 
برای پمپ های سیرکوله از ایرونت خودکار یا شیر هواگیری تعبیه شده در خط استفاده کنیم. 
ترموستات جداری روی جداره لوله را می توان به چراغ سیگنال تابلو متصل کرد تا در صورت خاموش شدن در اثر رسیدن به دمای تنظیمی اپراتور متوجه شود در حالت سه فاز چه در حالت مثلث و چه در حالت ستاره مثلث جهت چرخش پمپ سیرکوله مشخص شود. در صورت چرخش در خلاف جهت مشخص شده جای یک فاز را عوض کنید. 
از تجهیزات ایمنی مثل کلید محفاظ جان،  بی متال، فیوز قطع کننده مدار قدرت و کنتاکتور مناسب استفاده نمایید.
اتصالات پمپ سیرکولاتور زمینی
در نصب پمپ زمینی سیرکوله که روی شاسی نصب می گردد باید در خط مکش حتماً صافی (استرینر) و در خط دهش شیر یکطرفه پولکی نصب شود. همچنین باید لرزه گیر در هر دو خط مکش و دهش نصب شود. البته باید از لرزه گیر مناسب برای کاربرد مورد نظر تان استفاده کنید. روی تمام لرزه گیر ها در قسمت لاستیکی نواری رنگی ترسیم شده که معنی آن با توجه به تصویر زیر مشخص  می شود.
مشخصه رنگی لرزه گیرها
- رنگ سفید : کاربرد لرزه گیرها جهت آب آشامیدنی (پمپاژ آب آشامیدنی)
- رنگ آبی : کاربرد در سیستم های فشار قوی آب از ۱۶ تا ۵۰ بار
- رنگ قرمز : کاربرد در سیستمهایی با دمای بالاتر از ۹۰ تا ۱۵۰ درجه سانتیگراد
- رنگ زرد : کاربرد در سیستم های تهویه مطبوع. (این رنگ به همراه رنگ سفید بیشترین کاربرد را در تاسیسات دارند)
- رنگ سبز : کاربرد در سیستمهای حاوی اسید و باز و مواد خورنده مثل کارخانجات تولید اسید، الکل و رنگ سازی
- رنگ قهوهای : کاربرد در سیستمهای نفت و مشتقات نفتی مثل پتروشیمی ها
فروش انواع پمپ سیرکولاسیون با بهترین قیمت
فروشگاه اینترنتی بامین تهویه تمامی اطلاعات فنی و تصاویر انواع پمپ نظیر پمپ سیرکولاتور ، پمپ کف کش و ... را جهت مقایسه و خریدی آسان در اختیار مشتریان محترم قرار داده است. برای دریافت مشاوره جهت انتخاب و خرید انواع پمپ با کارشناسان بامین تهویه تماس حاصل نمایید.
مطالب مرتبط :
بامین تهویه تخصصی ترین وب سایت کشور در زمینه تأسیسات












محمد
جمعه 24 اسفند 1403خیلی عالی بود
ممنون
بامین تهویه
شنبه 30 فروردین 1404سپاس از همراهیتون
کرم اله گودرزی
سه شنبه 22 آبان 1403درود تشکر از توضیحات عالی
در پروژه ای مسکونی واقع در شیراز با توجه به بزرگی واحدها نیاز به پمپ برگشت آب گرم مصرفی داریم.هر واحد دارای یک پکیج رومسیلد میباشد .آیا با نصب پمپ خطی روی لوله برگشت آبگرم مصرفی موافق هستید.
بامین تهویه
چهارشنبه 8 مرداد 1404سلام دوست عزیز
در این پروژه اگر از مخزن یا مبدل حرارتی مشترک بین واحدها استفاده میکنید، نصب پمپ سیرکوله برگشت آبگرم مصرفی بسیار در مصرف آب و انرژی تاثیرگذار است.
امید داداش پور
شنبه 10 تیر 1402امکانش هست بفرمایید طریقه صحیح نصب ترموسات جداری چگونه است؟
جواد رضایی
چهارشنبه 10 خرداد 1402ممنون از توضیحات عالی و تخصصی شما